Metal Lathe Wiring Diagram 50+ Images Result
Metal Lathe Wiring Diagram. During typical operations, the lathe spindle rotates the workpiece at various speeds against a fixed cutting tool that is positioned at. The model g metal lathe is used to remove model g 12 x 37 belt drive gap bed lathe.
That is what the seller told me and the motor pigtails are connected that way if i am reading the diagram right. The manual has explosive view diagrams of all the parts with parts list for these sharp metal lathes. Atlas/craftsman 12 101.07383 metal lathe parts and diagrams:
2004 mitsubishi galant fuse box diagram 2003 ford ranger radio wiring diagram for a pick up kz1000 ignition system wiring diagram ford maverick ac wiring diagram
Birmingham Metal Lathe DL Series 18/22/26L Operations
Click on the image to see them full size. Grizzly 1340 lathe wiring diagram. Here are a few notes about wiring up my small lathe motor. During typical operations, the lathe spindle rotates the workpiece at various speeds against a fixed cutting tool that is positioned at.
![[DIAGRAM] Harbor Freight Lathe Wiring Diagram FULL Version [DIAGRAM] Harbor Freight Lathe Wiring Diagram FULL Version](https://i2.wp.com/www.model-engineer.co.uk/sites/7/images/member_albums/176735/812467.jpg)
Source: diagramsnap6.lamontesca.it
My 101.28970 12 inch craftsman lathe came with a craftsman 11319656 1/2 hp motor. I need some help wiring my taiwanese frejoth 220 lathe. 1942 monarch 10ee wiring diagram. This is a reproduction, not a photocopy, of an original jet 14″ x 40″ metal lathe model 3pgh wiring diagram and parts manual. Provides a heavy rigid frame on which all.

Source: wiringall.com
56 this is a reproduction of an original jet metal lathe model 1550t instructions and parts manual. Atlas/craftsman 12 101.07383 metal lathe parts and diagrams: My 101.28970 12 inch craftsman lathe came with a craftsman 11319656 1/2 hp motor. The manual has explosive view diagrams of all the parts with parts list for these sharp metal lathes. Winding machine metal.

Source: lathedmachine.blogspot.com
7130 magnetic starter wiring diagram color jpg of clausing lathe and mill. Well, all he did was to replace the three phase motor with a 3/4 1750 rpm motor. Can anyone provide a wiring diagram to make it fwd and reverse? Grizzly 1237g lathe wiring diagram. Control panel & motor wiring diagrams 66.
Source: richardtherich.blogspot.com
Provides a heavy rigid frame on which all the main components are mounted. I purchased a used busy bee dfg lathe just recently and it had the wiring disconnected from it. I believe it is currently configured for 220v. However it is presently wired just on and off. I have the owner's manual.
![[DIAGRAM] Harbor Freight Lathe Wiring Diagram FULL Version [DIAGRAM] Harbor Freight Lathe Wiring Diagram FULL Version](https://i2.wp.com/aspinock.com/7x10minilathe/Kinda-Old/7X10Electrical/7x10PanelWire.jpg)
Source: diagramsnap6.lamontesca.it
Well, all he did was to replace the three phase motor with a 3/4 1750 rpm motor. It includes all the threading gear charts and the electrical wiring diagram. 56 this is a reproduction of an original jet metal lathe model 1550t instructions and parts manual. However it is presently wired just on and off. Need help on wiring a.

Source: journeymans-workshop.uk
Inner and outer guide rails that are precision machined parallel to assure accuracy of movement. Explanation of the standard components of most lathes: Copyright © 2005, scott s. These lathes were sold under a few different brands. Drilling machines multiple spindle // bulletin #ms1:

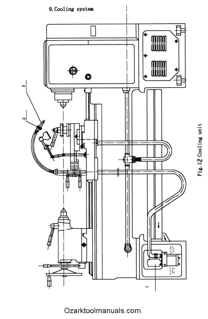
Source: ozarktoolmanuals.com
Winding machine metal lathe wire wiring diagram png 1020x781px circuit copper conductor. Winding machine metal lathe wire wiring diagram tyer electrical wires cable transformer tool png pngwing. Its submitted by admin in the best field. Usually made of cast iron. Drilling machines multiple spindle // bulletin #ms1:

Source: polytechforum.com
Atlas screw cutting lathe operating instructions & attachments: This jet manual includes wiring diagrams, and complete set exploded view diagrams of all the parts with parts numbers for the 3pgh metal lathe. Pm lathe wiring diagram 9 out of 10 based on ratings. Includes cast base and chip pan. Explanation of the standard components of most lathes:

Source: model-engineer.co.uk
This lathe manual contains clear cross sectional view diagrams of all the parts with parts list and descriptions. I have the owner's manual. Can anyone provide a wiring diagram to make it fwd and reverse? 56 this is a reproduction of an original jet metal lathe model 1550t instructions and parts manual. Usually made of cast iron.
![[DIAGRAM] Harbor Freight Lathe Wiring Diagram FULL Version [DIAGRAM] Harbor Freight Lathe Wiring Diagram FULL Version](https://i2.wp.com/www.manualsdir.com/manuals/155607/62/southbend-sb1001-page62.png)
Source: diagramsnap6.lamontesca.it
It includes all the threading gear charts and the electrical wiring diagram. Copyright © 2005, scott s. 56 this is a reproduction of an original jet metal lathe model 1550t instructions and parts manual. Can anyone provide a wiring diagram to make it fwd and reverse? This is a reproduction, not a photocopy, of an original jet 14″ x 40″.

Source: timing-diagrams.lanternerosse.it
Motor and switch wiring diagrams. This manual provides critical safety instructions on the proper setup, operation the owner of this machine/tool is solely responsible for its safe use. Usually made of cast iron. Page 3 save this manual keep this manual for the safety warn. The purpose of a metal lathe is to face, turn, knurl, thread, bore, or cut.

Source: ozarktoolmanuals.com
I need some help wiring my taiwanese frejoth 220 lathe. But that's not the issue i am bringing forth. Here are a few notes about wiring up my small lathe motor. 1942 monarch 10ee wiring diagram. Need help wiring an import lathe.
![[DIAGRAM] Metal Lathe Wiring Diagram FULL Version HD [DIAGRAM] Metal Lathe Wiring Diagram FULL Version HD](https://i2.wp.com/www.practicalmachinist.com/vb/attachments/f38/148339d1441247040-cadillac-lathe-cadillac_lathe_electrical_manual_lo_res.jpg)
Source: schematicfileh.cheyco.it
It includes all the threading gear charts and the electrical wiring diagram. Its submitted by admin in the best field. Manual yunnan lathe electrical colchester student 1800 wiring diagram machine over load protector tetralite products mini motor and switch diagrams kinematic. The controls were not changed at all, and all. I have collected this information for many years and have.

Source: schematron.org
Page 3 save this manual keep this manual for the safety warn. The controls were not changed at all, and all. This manual for this metal lathe covers general operation, specifications, and installation instructions. Need help wiring an import lathe. Here are a few notes about wiring up my small lathe motor.

Source: wiring121.blogspot.com
Grizzly 1340 lathe wiring diagram. Inner and outer guide rails that are precision machined parallel to assure accuracy of movement. 7130 magnetic starter wiring diagram color jpg of clausing lathe and mill. This lathe manual contains clear cross sectional view diagrams of all the parts with parts list and descriptions. The manual has explosive view diagrams of all the parts.
Source: wiringideas.blogspot.com
These lathes were sold under a few different brands. Here are a number of highest rated enco lathe wiring diagram pictures on internet. Product data sheets user's guides service bulletins safety data sheets wiring diagrams replacement parts for bench top lathes many of the bench top metal working lathes (mini lathes and bench lathes) sold in the united states and.
Source: sawmillcreek.org
The manual has explosive view diagrams of all the parts with parts list for these sharp metal lathes. Need help wiring an import lathe. This lathe manual contains lathe specifications, installation instructions, lubricating instructions, and proper operating procedures. During typical operations, the lathe spindle rotates the workpiece at various speeds against a fixed cutting tool that is positioned at. It.

Source: ozarktoolmanuals.com
Copyright © 2005, scott s. Manual yunnan lathe electrical colchester student 1800 wiring diagram machine over load protector tetralite products mini motor and switch diagrams kinematic. Pm lathe wiring diagram 9 out of 10 based on ratings. I purchased a used busy bee dfg lathe just recently and it had the wiring disconnected from it. Here are parts diagrams and.

Source: practicalmachinist.com
This manual for this metal lathe covers general operation, specifications, and installation instructions. It includes all the threading gear charts and the electrical wiring diagram. The controls were not changed at all, and all. I purchased a used busy bee dfg lathe just recently and it had the wiring disconnected from it. This lathe manual contains lathe specifications, installation instructions,.

Source: tetralite.com
It is powered by a 1 hp 110/220 single phase motor. I have collected this information for many years and have found the information they contain to be priceless in using and setting up the. Motor and switch wiring diagrams. This manual provides critical safety instructions on the proper setup, operation the owner of this machine/tool is solely responsible for.